¿Ferrari rumbo al motor V8 MultiAir?
Ferrari estaría trabajando en una variante propia de motor V8 que use el sistema MutiAir, de acuerdo a reportes provenientes de Maranello. Si bien Ferrari ya debe estar al tanto de la tecnología MultiAir y de sus ventajas, con los motores de Fórmula 1, se dice que el desarrollo podría tener algunas novedades técnicas que […]
Ferrari estaría trabajando en una variante propia de motor V8 que use el sistema MutiAir, de acuerdo a reportes provenientes de Maranello. Si bien Ferrari ya debe estar al tanto de la tecnología MultiAir y de sus ventajas, con los motores de Fórmula 1, se dice que el desarrollo podría tener algunas novedades técnicas que implementaría Ferrari.
El sistema Multiair que estaría ensayando Ferrari, podría usar aire para la admisión del motor (como los motores de F1), al contrario de los actuadores electro hidráulicos que Fiat utiliza. Para ello, la aplicación estaría destinada a motores V8 de poco desplazamiento y con una gran capacidad de levantar rápida y sostenidamente de vueltas (entre otras cosas) gracias al MultiAir.
Hay que tener en cuenta que una de las ventajas del sistema es la ausencia del límite físico de resistencia del material de los resortes de válvulas, cuanto mayor es la velocidad del motor. De esta manera, Ferrari podría tener un motor con potencia de sobra, mucho par motor y consumos controlados, todo ello, sin necesidad de ir más allá que un motor de 8 cilindros.
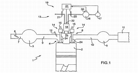
Si nos atenemos a los que parecen ser bocetos filtrados del patentamiento del sistema, vemos que Ferrari prepara «algo», haciendo uso del MutiAir. Las posibilidades que se abren para un motor pensado para un uso deportivo, usando la tecnología MultiAir, son bastante interesantes como para que no esperemos ver más acerca del tema y espero que muy pronto.

Deja un comentario
