
El Ford Mustang Mach-e equipará baterias de LFP
<p>El Ford Mustang Mach-e equipará desde este año baterías de LFP.</p>
Ford Coches Eléctricos Pick-up Todoterrenos
Los vehículos eléctricos de Ford destinados a la aventura o al trabajo rural podrán contar con una batería adicional que ofrecerá más energía si es necesario.
La necesidad de contar con una autonomía bastante amplia en los vehículos eléctricos hace que los fabricantes se esfuercen en ofrecer soluciones atractivas para los usuarios de sus modelos. Y Ford lo ha hecho, sobre todo mirando a sus vehículos todoterreno. Estos suelen circular por terrenos en los que no abundan los puntos de carga, asi que hay que contar con energía de respaldo para moverse con libertad.
Para conseguir esta energía extra, que incrementa los kilómetros a recorrer, Ford ha pensado en colocar una batería de apoyo, que haría que la distancia a recorrer sea más alta. Sobre todo, si la exigencia de electricidad es mayor y no hay opciones para cargar la batería de manera sencilla. Por el momento, esto es solo una patente, pero puede hacerse realidad en muy poco tiempo.
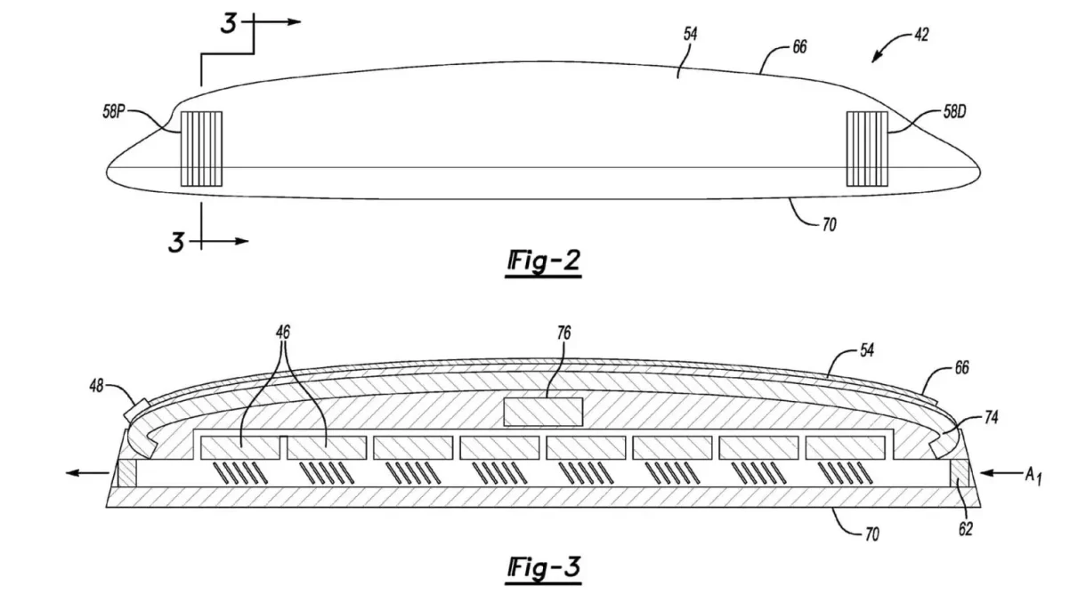
Este equipo de baterías adicionales se ha diseñado para que se instale en el techo de los modelos todoterreno, tanto en los 4×4 tradicionales como en los pick-up de la marca. Esta solución acredita el interés de la marca estadounidense para mejorar las prestaciones de sus modelos eléctricos.
El paquete de baterías se ubican en un baúl de techo, que almacenará la energía necesaria para alimentar el motor eléctrico cuando se agote la batería principal del vehículo. Este baúl va conectado al vehículo a través de un cable que va hasta la parte trasera del mismo.
Lo interesante es que este paquete adicional de baterías es desmontable. Es decir, se puede colocar cuando es necesaria una mayor capacidad de la batería, pero se puede retirar si no es necesaria. Cuando se está utilizando el vehículo para el día a día, no es necesario instalar este paquete de baterías en el techo del vehículo, pero cuando se necesita energía adiconal, por un viaje largo o por un recorrido por terreno complicado donde no hay posibilidad de cargar la batería, se puede instalar con facilidad.
El diseño incluye varios puntos de entrada de aire, que permiten una refrigeración más eficiente. Estas tomas de aire, según se ve en los planos, se pueden cerrar y abrir a voluntad según las condiciones climáticas del momento. Si hay una tormenta, sopla excesivo viento que levante polvo o cualquier otra cosa, basta con cerrar las entradas de aire para proteger la batería, así que se puede conservar durante más tiempo.
Por el momento, solo es una patente para que sea fabricada más adelante, así que tardaremos un poco en verlas en el mercado.
Deja un comentario