Ferrari Coches Eléctricos Superdeportivos
Sorpresa: Ferrari ya está diseñando su primer vehículo 100% eléctrico
Ferrari ya está trabajando en su primer vehículo 100% eléctrico, algo que podemos corroborar tras la filtración de estos planos de sus principales componentes.
Ya lo hizo Porsche, Aston Martin lo intentó y Maserati se encuentra en ello, por lo que no debería sorprendernos por parte de Ferrari. La firma del Cavallino Rampante lleva peleando desde hace tiempo para evitar sucumbir a las mecánicas eléctricas y lo cierto es que no solo lo está consiguiendo, sino que también es una de las pocas marcas con propulsores atmosféricos en su haber. No obstante, la casa italiana hizo uso de la híbridación para concebir tanto al LaFerrari como al SF90, dos modelos que han dado pie a lo imparable: un Ferrari 100% eléctrico.
Unas filtraciones a través de unos planos muestran que Ferrari se encuentra comenzado a dar los primeros pasos hacia un vehículo completamente eléctrico. Esto no debería sorprendernos, puesto que ya son varias las marcas que, a través de sus vehículos, han demostrado que este sustento de vida no es incompatible con unas altas prestaciones.
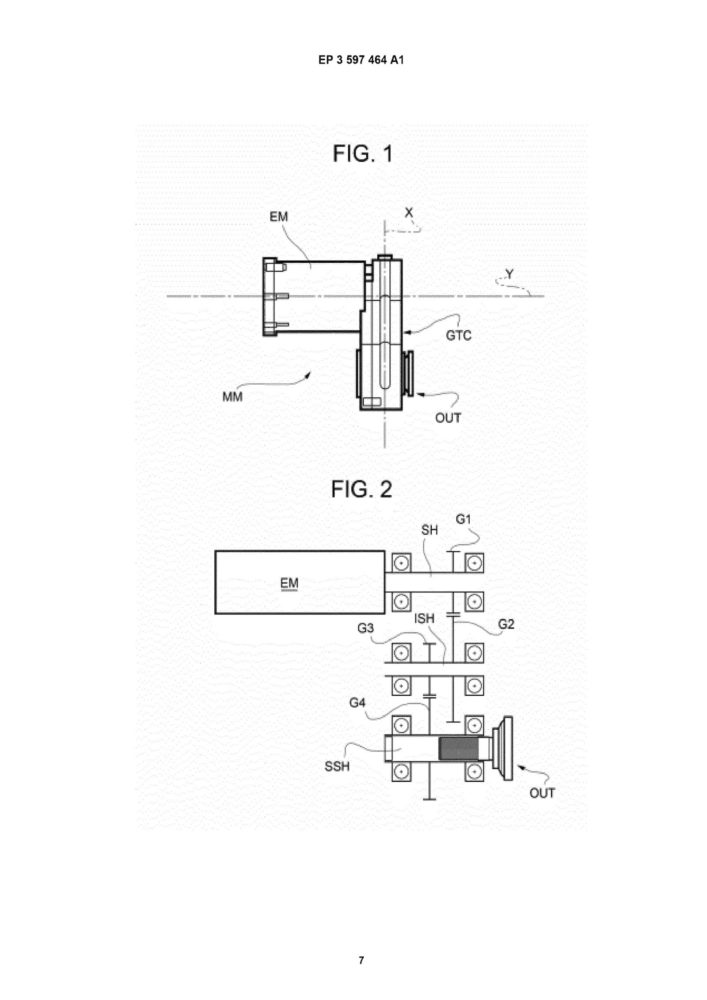
Gracias a Taycanevforum, hemos sido participes de estos planos que, pese a la sencillez que parecen mostrar, esconden datos relacionados con el primer eléctrico de la firma italiana. Serán cuatro los propulsores de esta condición los que alimenten a este futuro retoño de Ferrari y, gracias a la distribución que se aprecia en el propio diseño del coche, podemos intuir que esta plataforma también será empleada para la creación de vehículos híbridos debido a un espacio entre el eje posterior y el asiento del pasajero ideado para albergar una batería.

La primera figura representa el módulo motor y la caja de cambios -GTC- que equipará este modelo pese a que será un vehículo 100% eléctrico. La figura dos muestra el contenido de la propia transmisión, la cual parece ser contará con cuatro marchas, algo inaudito en este sector y que seguro supone una revolución para el mundo de los superdeportivos eléctricos.
La tercera figura se encarga de mostrar el eje delantero y a los dos propulsores eléctricos que irán acoplados sobre este. Las figuras cinco y seis se encargan de mostrar el esquema que presentará el eje posterior, mientras que la siete ya es una representación de la estructura global del coche, el cual seguirá ofreciendo dos asientos.

Sea como fuere, aún es pronto para vaticinar con acierto detalles sobre este futuro Ferrari eléctrico, y más teniendo en cuenta que parece ser que no se lanzará al mercado hasta el año 2025. Sin lugar a dudas, de aquí a cinco años pueden suceder muchas cosas, pero estos planos nos dejan claras las intenciones de la firma italiana respecto al superdeportivo del mañana.
Deja un comentario


Lepas L8: el verdadero lujo es el espacio, la comodidad y la facilidad de uso
Dacia pone en marcha el plan “ADN”: más tecnología y electrificación… y precios difíciles de batir
Salón del Automóvil de Pekín 2026: revolución tecnológica de alto voltaje