Ford patenta una nueva caja de cambios de 11 velocidades
Ford acaba de obtener la patente de una caja de cambios de 11 velocidades, lo que supone un nuevo récord en la industria. Actualmente existen en producción transmisiones de hasta 9 velocidades, aunque hay fabricantes como VW y la propia Ford que llevan tiempo desarrollando cajas de 10 relaciones.
Ford está trabajando muy duro en uno de los temas más delicados de la industria del automóvil, las transmisiones. Las cajas de cambio han experimentado una rápida evolución en el último puñado de años, y el fabricante americano no quiere quedarse atrás.
Por eso, y pese a que actualmente las cajas de cambio más habituales tienen 6 y 7 velocidades, Ford está trabajando en una con 11 relaciones ni más ni menos.
Como decimos, las cajas de cambio han experimentado un fuerte desarrollo en los últimos años, multiplicando prácticamente sus relaciones. Ahora son más precisas, más rápidas y más fiables que nunca. En el caso de las transmisiones manuales, hace no muchos años encontrar una caja de cambios de 6 velocidades era casi un logro si salíamos del terreno de los superdeportivos. Sin embargo, actualmente es la opción mayoritaria entre los turismos.
No obstante, es en el terreno de las cajas automáticas donde el salto ha sido «estelar». Hasta hace bien poco, la inmensa mayoría de las transmisiones automáticas eran más lentas, más pesadas y mucho más complejas que las cajas manuales. Además, aumentaban el consumo y reducían las prestaciones respecto al mismo coche con caja manual. Eso es algo que ya ha pasado a la historia, dando la vuelta a la tortilla, y siendo ahora una alternativa más que razonable a las cajas manuales.

Actualmente existen cajas automáticas de hasta 9 velocidades (Mercedes-Benz tiene la suya, ZF produce para Jaguar, Land Rover…), aunque no es lo más común. Destacan las transmisiones automáticas de 7 y 8 velocidades, cada vez más comunes y aplicadas a vehículos más baratos. Aquí es donde se plantea el problema, ya que, en palabras del CEO de ZF, «las 9 velocidades son el límite natural y razonable para una caja de cambios, ya que la adición de más marchas no compensa los beneficios con el aumento del peso y la complejidad del conjunto».
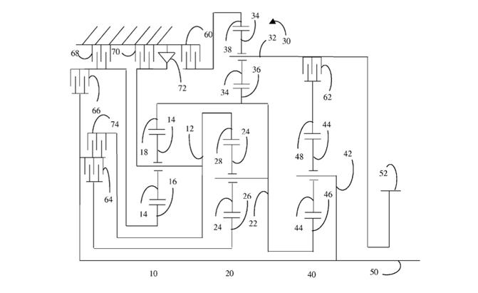
Pese a esta afirmación, es conocido que Volkswagen lleva tiempo trabajando en una caja de cambios de doble embrague DSG con 10 velocidades, transmisión que no tardará excesivamente en ver la luz y comenzar a montarse en vehículos de producción. Ahora conocemos que Ford ha obtenido la patente de una caja de 11 velocidades, lo que supone un nuevo récord en el número de las mismas.
Para Ford no es un terreno desconocido, ya que al igual que VW, ya anunció hace tiempo que trabajaba en una caja de 10 velocidades, transmisión que hará su primera aparición en el F150 Raptor 2017. Cabe pensar ahora que la caja de 11 velocidades no sea completamente nueva, sino que se trate de una modificación de dicha transmisión de 10 velocidades, lo que reduciría los costes tanto de desarrollo como de producción.
Vía | autoguide.com
Deja un comentario


Al volante del EBRO s400: un híbrido simple y ahorrador
El pasado, presente y futuro de Opel en una exposición única en España: «Opel Love» aterriza en Mobility City hasta marzo de 2026